● Padrão: IEC61009-1, IEC62026
● Proteção: Detecção de falha de arco em série e paralelo, detecção de falha de arco combinada, curto-circuito, sobrecarga e detecção de fuga à terra.
● Tipo de RCBO: AC, A
● Corrente nominal: 6~40A
● Tensão nominal: 230/240~
● Número de pólos: 1P+N (com neutro comutado)
● Corrente operacional residual nominal (IAn): 10, 30, 100, 300mA
● Capacidade de interrupção de curto-circuito nominal: 6kA
● Curva de disparo: B, C
● Temperatura do ar ambiente: -25...+40 ºC
● Conexão: De baixo
● Certificados: CE, CB
Em circuitos CA monofásicos não superiores a 230 V, incluindo circuitos em anel, radiais, etc. Quando utilizado, o AFDD deve ser colocado na origem do circuito a ser protegido.
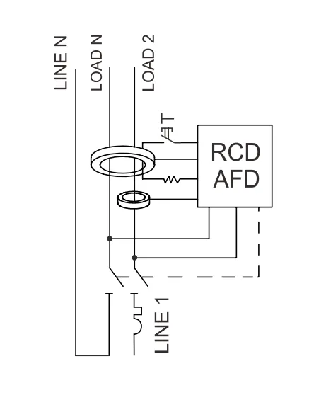
Os dispositivos EKL17-40AFD são um dispositivo de módulo único que se encaixa no sistema de barramento existente do arranjo existente. O dispositivo oferece proteção contra sobrecorrente, curto-circuito, vazamento de terra e falha de arco, tudo em um dispositivo e está disponível em variantes de curva B e C. Ele pode direcionar o RCBO de substituição em unidades de consumo existentes.
| Sobrecorrente | Curto circuito | Vazamento de Terra | Série Arco Fult | Arco Paralelo Fult | |
| MCB | √ | √ | × | × | × |
| RCCB | × | × | √ | × | × |
| RCBO | √ | √ | √ | × | × |
| AFDD | × | × | × | √ | √ |
| AFDD integrado com RCBO | √ | √ | √ | √ | √ |
Valores limite de tempo de interrupção para Ue 230V AFDD
|
Corrente de arco de teste (valores rms)
|
Tempo máximo de quebra
|
|
2,5A
|
1S
|
|
5A
|
0,5S
|
|
10A
|
0,25S
|
|
16A
|
0,15S
|
|
32A
|
0,12S
|
|
63A
|
0,12S
|
Observação:
1. A corrente do arco de teste é a corrente esperada antes que a ignição ocorra no circuito de teste.
2. Baixas correntes de arco podem ocorrer devido a falhas de isolamento fase-terra ou arco em série.
|
Padrão
|
IEC/EN61009-1, IEC62026
|
|
Proteção
|
Proteção contra arco elétrico, proteção contra sobrecarga,
Proteção contra curto-circuito, proteção contra fuga à terra
|
|
Tipo de viagem
|
Falha de aterramento: Eletrônica
|
|
Sobrecarga e curto-circuito: Termomagnético
|
|
|
Tipo de proteção (vazamento elétrico)
|
UM
|
|
Nº de postes
|
1P+N (pólo N pode ser conectado e desconectado)
|
|
Correntes nominais (In)
|
6, 10, 16, 20, 25, 32, 40A
|
|
Correntes de sensibilidade nominais IΔn
|
10, 30, 100, 300mA
|
|
Tempo de desligamento da corrente residual sob IΔn
|
≤ 0,1s
|
|
Capacidade de ruptura e conformação residual (IΔm)
|
500A
|
|
Tensão nominal (Ue)
|
230/240 V
|
|
Frequência nominal
|
50/60Hz
|
|
Capacidade de interrupção nominal
|
6.000 A
|
|
Classe de Limitação de Energia
|
3
|
|
Impulso nominal com tensão padrão (1,5/50) Uimp
|
4.000 V
|
|
Tensão de teste dielétrico em Ind.Freq. por 1 min
|
2kV
|
|
Característica de liberação térmica
|
(1,13-1,45) ×Em
|
|
Característica de liberação magnética
|
B: (3-5) ×Em, C: (5-10) ×Em
|
|
Vida elétrica
|
4.000 ciclos
|
|
Vida mecânica
|
10.000 ciclos
|
|
Indicador de posição de contato
|
Sim
|
|
Grau de proteção
|
IP20
|
|
Temperatura ambiente
|
-25℃ a +40℃, Máx.95% de umidade
|
|
Tipo de conexão do terminal
|
Barramento tipo cabo/pino
|
|
Tamanho máximo do terminal para cabo
|
L(entrada): 25 mm², N/L(saída): 16 mm²
|
|
Torque de aperto máx.
|
L(entrada): 2,5 Nm, N/L(saída): 2 N.m
|
|
Instalação
|
Montagem em trilho DIN de 35 mm
|
|
Conexão
|
De baixo para cima
|


| AFDD/RCBO EK17-40AFD (B Curva) | ||||
| ClassificaçãoCurrent(A) | Sensibilidade | |||
| 10mA | 30mA | 100mA | 300mA | |
| 6A | EKL17-40AFD-1NB0610A | EKL17-40AFD-1NB0630A | EKL17-40AFD-1NB06100A | EKL17-40AFD-1NB06300A |
| 10A | EKL17-40AFD-1NB1010A | EKL17-40AFD-1NB1030A | EKL17-40AFD-1NB10100A | EKL17-40AFD-1NB10300A |
| 16A | EKL17-40AFD-1NB1610A | EKL17-40AFD-1NB1630A | EKL17-40AFD-1NB16100A | EKL17-40AFD-1NB16300A |
| 20A | EKL17-40AFD-1NB2010A | EKL17-40AFD-1NB2030A | EKL17-40AFD-1NB20100A | EKL17-40AFD-1NB20300A |
| 25A | EKL17-40AFD-1NB2510A | EKL17-40AFD-1NB2530A | EKL17-40AFD-1NB25100A | EKL17-40AFD-1NB25300A |
| 32A | EKL17-40AFD-1NB3210A | EKL17-40AFD-1NB3230A | EKL17-40AFD-1NB32100A | EKL17-40AFD-1NB32300A |
| 40A | EKL17-40AFD-1NB4010A | EKL17-40AFD-1NB4030A | EKL17-40AFD-1NB40100A | EKL17-40AFD-1NB40300A |
| AFDD/RCBO EK17-40AFD (C Curva) | ||||
| 6A | EKL17-40AFD-1NC0610A | EKL17-40AFD-1NC0630A | EKL17-40AFD-1NC06100A | EKL17-40AFD-1NC06300A |
| 10A | EKL17-40AFD-1NC1010A | EKL17-40AFD-1NC1030A | EKL17-40AFD-1NC10100A | EKL17-40AFD-1NC10300A |
| 16A | EKL17-40AFD-1NC1610A | EKL17-40AFD-1NC1630A | EKL17-40AFD-1NC16100A | EKL17-40AFD-1NC16300A |
| 20A | EKL17-40AFD-1NC2010A | EKL17-40AFD-1NC2030A | EKL17-40AFD-1NC20100A | EKL17-40AFD-1NC20300A |
| 25A | EKL17-40AFD-1NC2510A | EKL17-40AFD-1NC2530A | EKL17-40AFD-1NC25100A | EKL17-40AFD-1NC25300A |
| 32A | EKL17-40AFD-1NC3210A | EKL17-40AFD-1NC3230A | EKL17-40AFD-1NC32100A | EKL17-40AFD-1NC32300A |
| 40A | EKL17-40AFD-1NC4010A | EKL17-40AFD-1NC4030A | EKL17-40AFD-1NC40100A | EKL17-40AFD-1NC40300A |
