● Norma: IEC/EN 61643-11
● Protege o sistema contra picos de tensão ou sobretensões transitórias.
● Classificação de surto: In=20kA (8/20 µs), Imax=40kA (8/20us)
● Categoria IEC/EN: Classe II / Tipo 2
● Nível de proteção de tensão: 1,5 KV
● Tensão máxima de operação contínua: 275 V
● Carcaça: Design Plugável
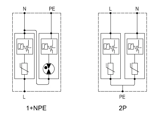
EKU6-T2-40S é um grupo de Dispositivos de Proteção contra Surtos Tipo 2, Classe C com um design modular com módulos plug-in. Esses dispositivos são projetados para proteger contra sobretensão transitória causada por operações de comutação rápida ou descargas atmosféricas indiretas (efeitos residuais). Eles são protetores de surtos compactos multipolos que permitem fácil instalação e retrofit devido ao seu design estreito, exigindo espaço mínimo (largura de 18 mm).
| Nº de postes | 2P | 1P+NPE |
| Sistemas de rede | TN-S | TT, TN-S |
| Modo de proteção | L-PE, N-PE | LN, N-PE |
| Elementos de proteção | MOV de alta energia | MOV e GDT de alta energia |
| Tensão operacional contínua máxima (LN) | Uc | 275 V | |
| Tensão operacional contínua máxima (N-PE) | Uc | 255 V | |
| Corrente de descarga normal (8/20μs) (LN)/(N-PE) | Em | 20 mil | |
| Corrente de descarga máxima (8/20μs) (LN)/(N-PE) | Imax | 40K | |
| Nível de proteção de tensão (LN)/(N-PE) | Acima | ≤1,5 KV | |
| Nível de proteção de tensão 5kA | ACIMA | ≤1,0KV | |
| Tempo de resposta (LN)/(N-PE) | tA | ≤25 ns/≤100 ns | |
| Faixa de temperatura operacional | Você | -40℃ a +80℃ | |
| Fusível de reserva máx. | 125 A gL/gG | ||
| Indicação de falha | Vermelho | ||
| Área da seção transversal (mín.)/(máx.) | 4 mm²/10 mm²(C/N),16 mm²(PE) | ||
| Montagem | Trilho DIN 35 mm, EN 60715 | ||
| Material incluso | Plástico térmico UL94-V0 | ||
| Grau de proteção | IP20 | ||


| Polacos | Máximo. Tensão CA operacional contínua |
| 275V | |
| 1+NPE | EKU6-T2-40S-1PN275 |
| 2P | EKU6-T2-40S-2P275 |
| Com sinalização remota | |
| 1+NPE | EKU6-T2-40S-1PN275S |
| 2P | EKU6-T2-40S-2P275S |
